平日(10:00〜18:00)
「AIZE Breathに乗り換えるといいことあるぞ 金の斧銀の斧編」
「AIZE Breathに乗り換えるといいことあるぞ 浦島太郎編」
「AIZE Breathに乗り換えるといいことあるぞ
金の斧銀の斧編」
「AIZE Breathに乗り換えるといいことあるぞ
浦島太郎編」
トリプルアイズは、電話による飲酒検査の代行サービスを提供してきたバディネットとサービス連携を行い、飲酒検査業務に課題を抱える企業様に対し、検知器によるアルコールチェックと電話確認をワンストップで提供することで、当該業務に発生するトータルコストの削減を実現しました。
使い方は至って簡単
①スマホでアプリを立ち上げる
②検知器に息を吹き込む あとは待つだけ
③検知データがクラウドを通してコールセンターに送られ
④コールセンターから運転者に電話がかかってきてその場でヒアリング
ヒアリングの内容もデータとして記録されます。
*コールセンター連携サービスは有料オプションとなります。
AIZE Breathは、IT導入補助金または
東京都の中小企業デジタルツール導入促進支援事業の助成金(※)が利用できます。
※東京都の中小企業様
例)AIZE Breathハンディタイプ(ミタチ産業製アルポーター)20台導入の場合
※初期費用・基本料金・月額費用・日報機能(オプション)を含む。
※IT導入補助金、デジタルツール導入助成金の適用で、最大で50%OFFとなります。
※IT導入補助金、デジタルツール導入助成金、いずれの補助金にも上限額がございます。
※助成金のご利用には諸条件があります。必ず採択されることを確約するものではございません。

トリプルアイズでは、申請に必要な手続きの支援をしています。
詳しくはこちら
こんな お悩み ありませんか?
検知と記録管理の
業務工程を
AIが大幅に削減
AIZE BreathはAI顔認証と
アルコールチェックと検温を一連の動作で行い、
記録をクラウドに自動保存するシステムです。
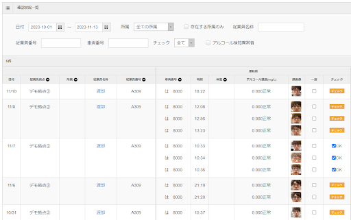
PC管理画面には、勤怠打刻時間と検知結果・
体温が一括で記録されます。
顔画像に紐づくのでなりすましや
虚偽報告対策に効果的です。
手順がシンプルなので
従業員がまごつくこともありません。
| センサー寿命 | |
| A社 |
センサー使用回数が
累計50時間
または、 約20,000回 の測定になるまで |
| B社 | 1年もしくは 3,000回 の使用が可能 |
| C社 | 購入から1年もしくは測定回数 10,000回 相当 |
| D社 | 設置から
6ヶ月
経過、もしくは測定回数 60,000回 の どちらか早く満たした時点 |
| AIZE Breath |
校正有効期限の月まで使用または、 70,000回 測定した場合* |
| クラウド対応 | 顔認証機能 | 検温機能 | メール お知らせ機能 |
センサー寿命 | 測定スピード | 測定結果保存件数 | 製造国 | |
| A社 | × | × | × | × | 累計50時間または、 約20,000回 |
5秒 | 不明 | 日本 |
| B社 | × | × | × | ○ | 10,000回 | 不明 | 3ID登録可能。 1IDあたり100件 保存可能 |
中国 |
| C社 | △ | × | × | × | 購入使用後1年半 または10,000回 |
不明 | 本体に3000件保存 | 日本 |
| D社 | × | × | × | × | 60,000回 | 約3秒 | ハンディユニットに コピーして事務所の PC にダウンロード |
不明 |
| AIZE Breath |
○ | ○ | ○ | ○ | 70,000回 | 約5秒 | クラウド保存なので 制限なし |
日本 |
横にスクロールできます
| アルコール検知器 本体(サンコーテクノST-3000)仕様 |
|
|---|---|
| 検知方法 | 燃料電池センサー |
| センサー寿命 | 校正有効期限の月まで使用または、70,000回測定した場合(どちらか早い方) |
| 表示形式 | LCD形式 |
| 呼気中アルコール濃度測定範囲 | 0.010mg/L~1000mg/L 0.050mg/L~1000mg/L 0.100mg/L~1000mg/L(設定モードで切替) |
| 呼気中アルコール濃度最小表示 | 0.001mg/L |
| メモリー | 1,000件 |
| 電源 | 入力AC100V 出力DC9V3A ACアダプタ DC3V単1アルカリ乾電池(LR20)×4本(非常用) |
| 使用温度範囲 | 5°C~35°C |
| 保管温度範囲 | 0°C~40°C |
| 寸法 | D175×W298×H248mm |
| 質量 | 約1.8kg(電池を含まない) |
| 主な材質 | 本器:ABS センサーモジュール:ABS マウスピース:PP 専用センサーキャップ:ABS |
| 付属品 | 取扱説明書(本器用) 取扱説明書(センサーモジュール用) 保証書(本器用) 保証書(センサーモジュール用) センサーモジュール センサーモジュール固定用ネジ×2本 ACアダプタ パソコン通信ケーブル(USB通信ケーブル) 専用マウスピース×10本 専用センサーキャップ |
| 通信仕様 | USB Bluetooth2.1※1 通信距離30m※2 |
| オプション | サーマルプリンタ |